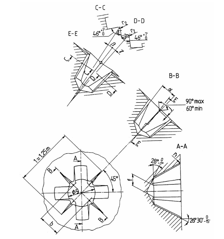
Kachidoki Posté(e) Aout 12, 2019 Posté(e) Aout 12, 2019 (modifié) Bonjour à tous, Pour les besoins d'un design en cours (qui pourra faire l'objet d'un Schmilblick), je me suis retrouvé confronté à une problématique simple. J'ai plusieurs pièces imprimées qui s'assemblent les unes aux autres par filetage. Pour aider à l'assemblage, j'aimerai ajouter une empreinte Pozidriv de type PZ2, voire PZ3 sur certaines des pièces, afin de pouvoir les serrer correctement. Certes, je pourrai très bien dessiner une croix grossière (qui serait plus apparentée à une empreinte Philips, PH2 ou PH3), ou même utiliser une empreinte hexagonale et utiliser des clés Allen (ou BTR ou Six pans) ou des clés plates (ou à œil ou à pipe), ou encore une empreinte plate pour tournevis plat, mais ce n'est pas mon genre. Ne serait-ce que pour ma culture, quelqu'un saurait-il comment on modélise ce type d'empreinte ? Pas moyen de trouver les cotes sur les réseaux interconnectés. Je ne trouve que des 3D tout fait de vis par exemple. Merci. Modifié (le) Aout 12, 2019 par Kachidoki
Vector Posté(e) Aout 12, 2019 Posté(e) Aout 12, 2019 (modifié) Salut @Kachidoki, ceci devrait peut--être t'aider : https://www.fasteners.eu/de/tech-info/ISO/4757/ Modifié (le) Aout 12, 2019 par Vector
Tircown Posté(e) Aout 12, 2019 Posté(e) Aout 12, 2019 (modifié) Sinon une fois imprimé tu chauffes la tête d'un tournevis et tu l'enfonces dans la vis. Vu la taille t'aura du mal à l'imprimer correctement. Modifié (le) Aout 12, 2019 par Tircown
Messages recommandés
Créer un compte ou se connecter pour commenter
Vous devez être membre afin de pouvoir déposer un commentaire
Créer un compte
Créez un compte sur notre communauté. C’est facile !
Créer un nouveau compteSe connecter
Vous avez déjà un compte ? Connectez-vous ici.
Connectez-vous maintenant